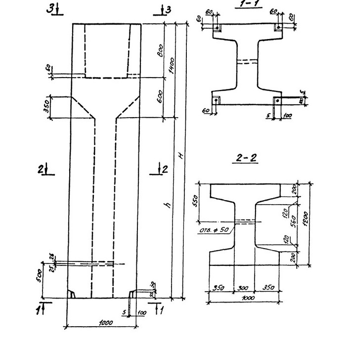
Блок-стакан верхний ВБ 9-10-36-1 предназначен для использования в строительстве железобетонных конструкций. Он обеспечивает надежное соединение элементов и обеспечивает необходимую прочность и устойчивость конструкции. Блок-стакан верхний ВБ 9-10-36-1 имеет высокое качество и долгий срок службы, что делает его идеальным выбором для строительства различных объектов.









